往复真空泵(真空泵原理是什么)
真空泵可以分为两类:气体输运泵(gas transfer pump)和气体捕获泵(entrapment pump)。通俗地说气体输运泵就是把腔体内的气体分子搬运到腔体外面去,而气体捕获泵则是通过物理或化学方法把腔体内的气体分子固定下来,从而达到降压的目的。
气体输运泵可以分为:正排量泵(positive-displacement pump)和分子运动真空泵(kinetic vaccum pump)。旋转机械泵(rotatory mechanical pump)和罗氏泵(roots pump)都属于正排量泵,分子运动真空泵则包括扩散泵(diffusion pump)和涡轮分子泵(turbomolecular pump)。
气体捕获泵通过捕获气体分子实现降低气压,一般包括吸附泵(adsorption pump),溅射离子泵(sputter-ion pump)和低温泵(cryogenic pump),其中吸附泵和低温泵的原理类似,所以下面我们将只介绍低温泵的物理原理。
旋转机械泵示意图。
旋转机械泵一般用于对较大系统的粗抽真空,为了使活塞在旋转过程中紧贴器壁,同时也是为了润滑,旋转机械泵使用“油”做润滑剂,单级泵可以抽到10的-2次方托(torr,约等于1mm汞柱,760分之一标准大气压或1.333mbar),两级可以抽到10的-4次方托。要想气压再低就需要在此基础上使用扩散泵或涡轮分子泵了。旋转机械泵泵出的气体有一定刺激性(如包含油的颗粒等),我们需要用专门的管道把它们引导到室外排放。
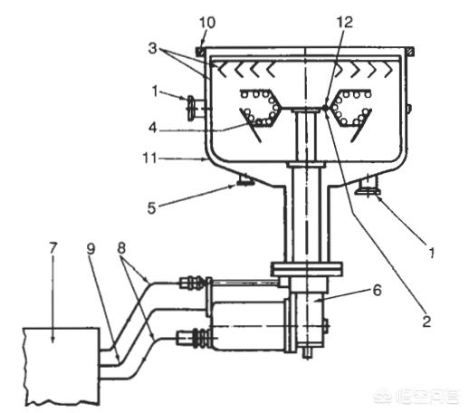
罗氏泵示意图。
罗氏泵是旋转机械泵的变种,它里面有两个8字形的转子压缩并泵出气体,由于转子之间咬合的很紧密,这种泵甚至不需要使用“油”来密封,罗氏泵有很高的转速,在拥有一个前级泵(旋转机械泵)的情况下,罗氏泵甚至可以达到10的-5次方托。罗氏泵一般用于化学气相沉积(CVD),工作气压为约1托。
扩散泵示意图。
与机械泵不同,扩散泵没有“运动”部件。扩散泵一般用于10的-2次方托以下,最低可以达到比10的-10次方托还低。扩散泵不能直接把气体排放到大气里,扩散泵必须使用前级泵,以使得扩散泵的出气口维持在大约0.1托。扩散泵一般使用硅油(silicone oil)做工作介质,硅油沸腾气化后形成高速的蒸汽流,这些“硅油蒸汽流”由顶部注入腔体,裹挟残留的气体分子从底部离开腔体,达到抽真空的目的。
扩散泵的一个致命缺陷是,油的回流(backstreaming)会“污染”腔体。由于这个原因,扩散泵不能用于表面分析和薄膜生长。为了尽量避免“油回流”造成的影响,我们在扩散泵的上方会放一个冷凝盘(cold cap),使硅油蒸汽在上面冷凝下来。
涡轮分子泵示意图。
涡轮分子泵使用高速旋转的叶片使残存气体分子从腔体中泵出,叶片转速高达2万到3万转每分钟。涡轮分子泵也需要使用前级泵。涡轮分子泵能够实现“无油”真空,最低气压可达10的-10次方托,尽管十分昂贵,目前已广泛应用于薄膜的生长和表征中。
低温泵示意图:残存气体分子在如图多孔物质(活性木炭4)处凝结,时间久了无法凝结更多分子,造成低温泵效率的降低,此时需要更换多孔物质,这被称为低温泵的再生。
低温泵的原理是使残存气体分子在低温下发生冷凝,从而降低腔体内的气压。低温泵可以制备非常干净的从10的-3到10的-10次方托的真空。低温泵的使用也需要前级泵。由于低分子量的气体更难发生冷凝,在高真空环境中残存的气体将以氦和氢为主。
溅射离子泵示意图。
最后介绍溅射离子泵。这种泵使用高电压使残留气体分子发生电离,阳离子撞击阴极,使阴极的钛原子被撞击出来,暴露形成“新鲜”的钛表面可以吸附腔体内的残留气体,从而获得更高的真空度。
